APCO
Central Air Conditioner

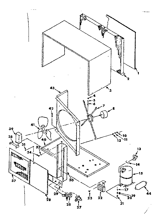
Model #CF30-1A Official APCO air conditioner condensing unit

Here are the diagrams and repair parts for APCO CF30-1A air conditioner condensing unit, as well as links to manuals and error code tables, if available.

There are a couple of ways to find the part or diagram you need:

  • Click a diagram to see the parts shown on that diagram.
  • In the search box below, enter all or part of the part number or the part’s name.

Not all parts are shown on the diagrams—those parts are labeled NI, for “not illustrated”.

We encourage you to save the model to your profile, so it’s easy to access parts and manuals for your appliance whenever you log in.

For DIY troubleshooting advice and repair guides, visit our repair help section.

Showing 10 of 64 parts

Flat Washer

See All Related Diagrams

Flat washer

Part #446363

The manufacturer no longer makes this part, and there's no substitute part

Contactor#22A

Unit parts Diagram

Contactor

Part #8401-243

The manufacturer no longer makes this part, and there's no substitute part

Run Cap#39A

Unit parts Diagram

Run cap

Part #8552-55

The manufacturer no longer makes this part, and there's no substitute part

Screw#23

Unit parts Diagram

Screw

Part #187875

The manufacturer no longer makes this part, and there's no substitute part

Lock Nut#10

Unit parts Diagram

Lock nut

Part #274205

The manufacturer no longer makes this part, and there's no substitute part

Screw#31

Unit parts Diagram

Screw

Part #187303

The manufacturer no longer makes this part, and there's no substitute part

Cap Screw#6

Unit parts Diagram

Cap screw

Part #122045

The manufacturer no longer makes this part, and there's no substitute part

Lock Washer#5

Unit parts Diagram

Lock washer

Part #120214

The manufacturer no longer makes this part, and there's no substitute part

Hex Nut#4

Unit parts Diagram

Hex nut

Part #120376

The manufacturer no longer makes this part, and there's no substitute part

Cap Screw#17

Unit parts Diagram

Cap screw

Part #122027

The manufacturer no longer makes this part, and there's no substitute part

Articles and videos common to all central air conditioners

November 30, 2022

2023 HVAC regulation changes and how they may affect you

By Lyle Weischwill

Find out how new DOE standards going into effect in 2023 can affect you and what you need to do.

October 24, 2022

Easy DIY appliance repairs that anyone can do

By Lyle Weischwill

Get advice on simple DIY fixes for appliances that you can safely do on your own.

August 5, 2022

Introducing new technical repair content that we’re developing for the Sears Technical Institute

By Lyle Weischwill

Learn about Sears Technical Institute and the advanced technical content being developed for aspiring appliance techs.