Craftsman
Drill/Driver

Model #315271570 Official Craftsman 3/8" cordless drill/driver

Here are the diagrams and repair parts for Craftsman 315271570 3/8" cordless drill/driver, as well as links to manuals and error code tables, if available.

There are a couple of ways to find the part or diagram you need:

  • Click a diagram to see the parts shown on that diagram.
  • In the search box below, enter all or part of the part number or the part’s name.

Not all parts are shown on the diagrams—those parts are labeled NI, for “not illustrated”.

We encourage you to save the model to your profile, so it’s easy to access parts and manuals for your appliance whenever you log in.

For DIY troubleshooting advice and repair guides, visit our repair help section.

Showing 10 of 29 parts

Drill/Driver On/Off Switch#19

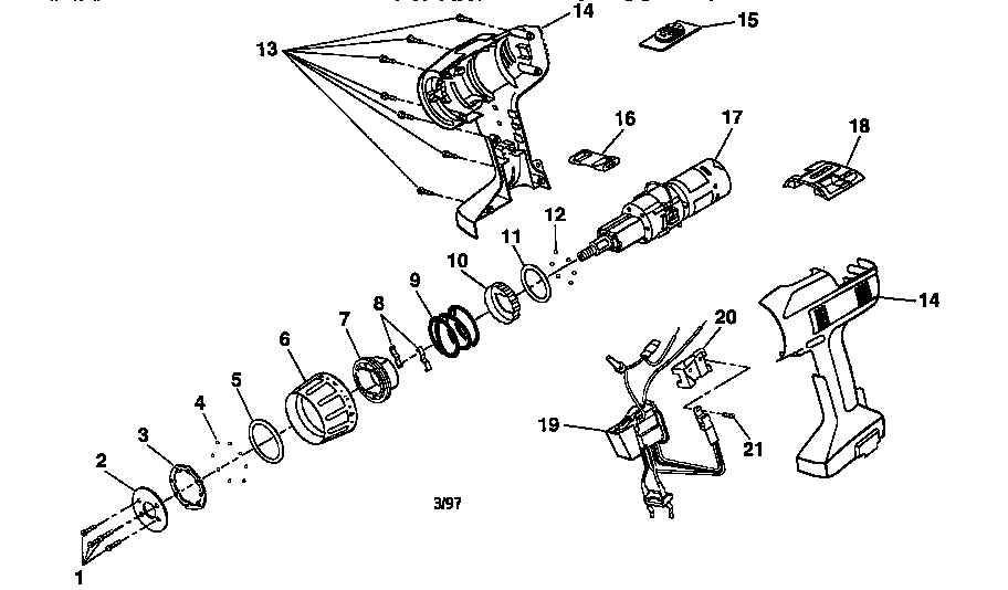
Motor and housing assembly Diagram

Drill/driver on/off switch

Part #974350-000
Replaced by #974350000
?
Manufacturer substitution
This part replaces 974350-000. Substitute parts can look different from the original.
In Stock
$63.59 | 
7% OFF 
Phone Price: $68.59
Ring#10

Motor and housing assembly Diagram

Ring

Part #974360-000

The manufacturer no longer makes this part, and there's no substitute part

Cl Balls#4

Motor and housing assembly Diagram

Cl balls

Part #974366-000

The manufacturer no longer makes this part, and there's no substitute part

Ball#12

Motor and housing assembly Diagram

Ball

Part #974402-000

The manufacturer no longer makes this part, and there's no substitute part

Screw#13

Motor and housing assembly Diagram

Screw

Part #974349-000

The manufacturer no longer makes this part, and there's no substitute part

Battery Charger#5

Unit parts Diagram

Battery charger

Part #974062-001

The manufacturer no longer makes this part, and there's no substitute part

Actuator#16

Motor and housing assembly Diagram

Actuator

Part #974364-000

The manufacturer no longer makes this part, and there's no substitute part

Drill Chuck Screw#1

Unit parts Diagram

Drill chuck screw

Part #616478-003

The manufacturer no longer makes this part, and there's no substitute part

1/2 IN. CUTTER (ITEM NO. 9-25413) (STANDARD HARDWARE ITEM-MAY BE PURCHASED LOCALLY)#20

Motor and housing assembly Diagram

1/2 in. cutter (item no. 9-25413) (standard hardware item-may be purchased locally)

Part #N/P

The manufacturer no longer makes this part, and there's no substitute part

Gear Bottom#15

Motor and housing assembly Diagram

Gear bottom

Part #974365-000

The manufacturer no longer makes this part, and there's no substitute part