Craftsman
Water Pump

Model #390281140 Official Craftsman submersible pump

Here are the diagrams and repair parts for Craftsman 390281140 submersible pump, as well as links to manuals and error code tables, if available.

There are a couple of ways to find the part or diagram you need:

  • Click a diagram to see the parts shown on that diagram.
  • In the search box below, enter all or part of the part number or the part’s name.

Not all parts are shown on the diagrams—those parts are labeled NI, for “not illustrated”.

We encourage you to save the model to your profile, so it’s easy to access parts and manuals for your appliance whenever you log in.

For DIY troubleshooting advice and repair guides, visit our repair help section.

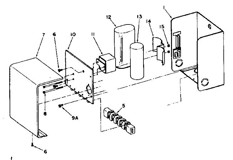
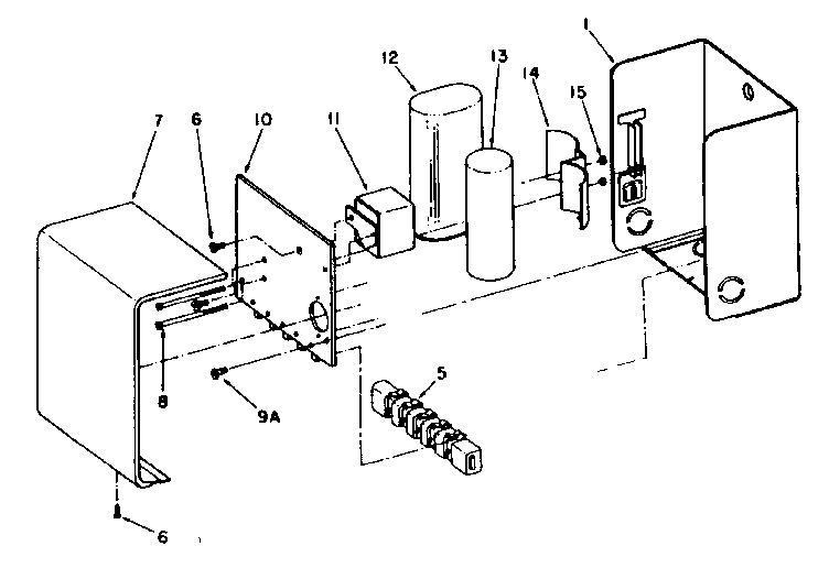
Showing 10 of 42 parts

Pump Start Relay

#NI

All parts Diagram

Pump start relay

Part #U18-811
In Stock
$190.39 | 
5% OFF 
Phone Price: $200.39
Pump Control Box Assembly

#NI

All parts Diagram

Control box

Part #SCP4200
Replaced by #VIP4C02-07B
?
Manufacturer substitution
This part replaces SCP4200. Substitute parts can look different from the original.
Back Order
$339.39 | 
$10.00 OFF 
Phone Price: $349.39
Central Air Conditioner Start Capacitor

#NI

All parts Diagram

Capacitor

Part #U18-881
Replaced by #43-17075-04
?
Manufacturer substitution
This part replaces U18-881. Substitute parts can look different from the original.
This item is not returnable
In Stock
$14.02
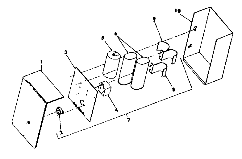
Panel

See All Related Diagrams

Panel

Part #P17-57
In Stock
$32.27
Pump Motor Control Module

#NI

All parts Diagram

Control box

Part #SCP4300-01
Replaced by #VIP4F02-07B
?
Manufacturer substitution
This part replaces SCP4300-01. Substitute parts can look different from the original.
In Stock
$351.15 | 
$10.00 OFF 
Phone Price: $361.15
Pump Run Capacitor#6

Control box (standard) Diagram

Running cap

Part #U18-1440
Replaced by #U17-1570
?
Manufacturer substitution
This part replaces U18-1440. Substitute parts can look different from the original.
In Stock
$123.89 | 
7% OFF 
Phone Price: $133.89
Capacitor

See All Related Diagrams

Capacitor

Part #U18-812

The manufacturer no longer makes this part, and there's no substitute part

Capacitor

See All Related Diagrams

Capacitor

Part #U18-730

The manufacturer no longer makes this part, and there's no substitute part

Screw

See All Related Diagrams

Screw

Part #U30-739C

The manufacturer no longer makes this part, and there's no substitute part

Pump Run Capacitor

See All Related Diagrams

Capacitor

Part #U18-733
Replaced by #U17-1570
?
Manufacturer substitution
This part replaces U18-733. Substitute parts can look different from the original.
In Stock
$123.89 | 
7% OFF 
Phone Price: $133.89