GE
Accessory

Model #JXGM201 Official GE tray

Here are the diagrams and repair parts for GE JXGM201 tray, as well as links to manuals and error code tables, if available.

There are a couple of ways to find the part or diagram you need:

  • Click a diagram to see the parts shown on that diagram.
  • In the search box below, enter all or part of the part number or the part’s name.

Not all parts are shown on the diagrams—those parts are labeled NI, for “not illustrated”.

We encourage you to save the model to your profile, so it’s easy to access parts and manuals for your appliance whenever you log in.

For DIY troubleshooting advice and repair guides, visit our repair help section.

    Showing 3 of 3 parts

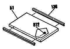
    Refrigerator Cover#51

    Unit Diagram

    Refrigerator cover

    Part #WB62K5022

    The manufacturer no longer makes this part, and there's no substitute part

    Refrigerator Handle#136

    Unit Diagram

    Refrigerator handle

    Part #WB15K5009

    The manufacturer no longer makes this part, and there's no substitute part

    Refrigerator Screw#872

    Unit Diagram

    Refrigerator screw

    Part #WB1X1301

    The manufacturer no longer makes this part, and there's no substitute part