Kenmore
Electric Range

Model #101934620 Official Kenmore electric range

Here are the diagrams and repair parts for Kenmore 101934620 electric range, as well as links to manuals and error code tables, if available.

There are a couple of ways to find the part or diagram you need:

  • Click a diagram to see the parts shown on that diagram.
  • In the search box below, enter all or part of the part number or the part’s name.

Not all parts are shown on the diagrams—those parts are labeled NI, for “not illustrated”.

We encourage you to save the model to your profile, so it’s easy to access parts and manuals for your appliance whenever you log in.

For DIY troubleshooting advice and repair guides, visit our repair help section.

Error Codes

Showing 10 of 119 parts

Light Bulb

#NI

All parts Diagram

Light bulb

Part #34164

The manufacturer no longer makes this part, and there's no substitute part

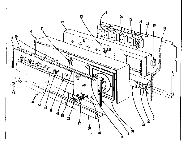
Adapter Ring#17

Cook top section Diagram

Adapter ring

Part #33797

The manufacturer no longer makes this part, and there's no substitute part

Reflect Pan#3

Cook top section Diagram

Reflect pan

Part #31194

The manufacturer no longer makes this part, and there's no substitute part

Medallion#10

Cook top section Diagram

Medallion

Part #40543

The manufacturer no longer makes this part, and there's no substitute part

Reflect Pan#16

Cook top section Diagram

Reflect pan

Part #31197

The manufacturer no longer makes this part, and there's no substitute part

Flouresc Tub#33

Backguard section Diagram

Flouresc tub

Part #23657

The manufacturer no longer makes this part, and there's no substitute part

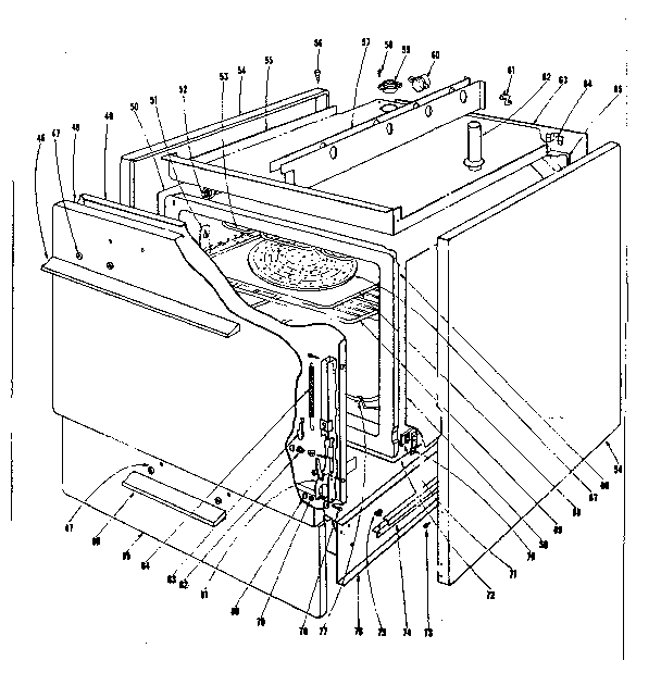
Baking Unit#77

Body section Diagram

Baking unit

Part #37691

The manufacturer no longer makes this part, and there's no substitute part

Thermostat#27

Backguard section Diagram

Thermostat

Part #39819

The manufacturer no longer makes this part, and there's no substitute part

Adapter Ring#2

Cook top section Diagram

Adapter ring

Part #33796

The manufacturer no longer makes this part, and there's no substitute part

Broil Unit#53

Body section Diagram

Broil unit

Part #39127

The manufacturer no longer makes this part, and there's no substitute part

Symptoms common to all ranges

Choose a symptom to see related range repairs.

Main causes: food splatters, spilling food on the oven door, allowing liquid to drip through oven door vent when cleaning the door
Main causes: power supply failure, blown thermal fuse, bad relay control board, damaged terminal block, wiring failure
Main causes: broken oven door lock assembly, wiring failure, electronic control board problem
Main causes: faulty temperature sensor, electronic control board problem, control thermostat failure, weak burner igniter, oven door problem
Main causes: broken broiler element, weak or broken broil burner igniter, control system failure, faulty temperature sensor, wiring failure
Main causes: power supply problem, control thermostat or electronic control board failure, broken element, bad burner igniter
Main causes: bad bake element, broken burner igniter, control system failure, blown thermal fuse, faulty temperature sensor, wiring failure

Repair guides common to all ranges

These step-by-step repair guides will help you safely fix what’s broken on your range.

July 20, 2018
Lyle Weischwill
How to replace a range oven door switch

The oven door switch detects whether the oven door is closed and helps control the oven light. Replace the switch if it doesn’t control the oven light properly.

Repair difficulty
Time required
 30 minutes or less
February 20, 2015
Lyle Weischwill
How to replace a range oven door lock assembly

Oven door not locking? You can replace the lock assembly in less than 30 minutes. Here's how.

Repair difficulty
Time required
 15 minutes or less

Articles and videos common to all ranges

Use the advice and tips in these articles and videos to get the most out of your range.

December 27, 2021

How does a self-cleaning oven work?

Lyle Weischwill

Learn how the self-clean cycle works in an oven.

October 1, 2019

Coil surface element on range not heating video

Lyle Weischwill

Learn how to troubleshoot a coil surface element on your stove that won't heat.

May 23, 2018

F90 error code troubleshooting for ranges video

Wayne Archer

Troubleshoot the door lock system to find and fix the problem.