White-Westinghouse
Washer

Model #LA640JXW3 Official White-Westinghouse top-loading automatic agitator washer - l289814

Here are the diagrams and repair parts for White-Westinghouse LA640JXW3 top-loading automatic agitator washer - l289814, as well as links to manuals and error code tables, if available.

There are a couple of ways to find the part or diagram you need:

  • Click a diagram to see the parts shown on that diagram.
  • In the search box below, enter all or part of the part number or the part’s name.

Not all parts are shown on the diagrams—those parts are labeled NI, for “not illustrated”.

We encourage you to save the model to your profile, so it’s easy to access parts and manuals for your appliance whenever you log in.

For DIY troubleshooting advice and repair guides, visit our repair help section.

Showing 10 of 198 parts

Washing Machine Washer (replaces 000132835, 08002401, 132835000, 132835-000, 3161289, 5303161410, F000132835, F132835, F132835000, F132835-000, Q000440115, Q440115)#4

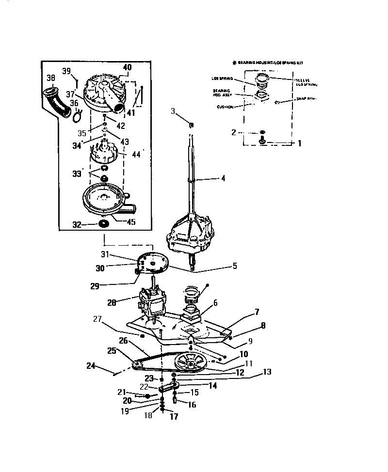
Drive motor & pump assembly Diagram

Washer

Part #Q440115
Replaced by #5308002401
?
Manufacturer substitution
This part replaces Q440115. Substitute parts can look different from the original.
In Stock
$20.89 | 
19% OFF 
Phone Price: $25.89
Washer#23

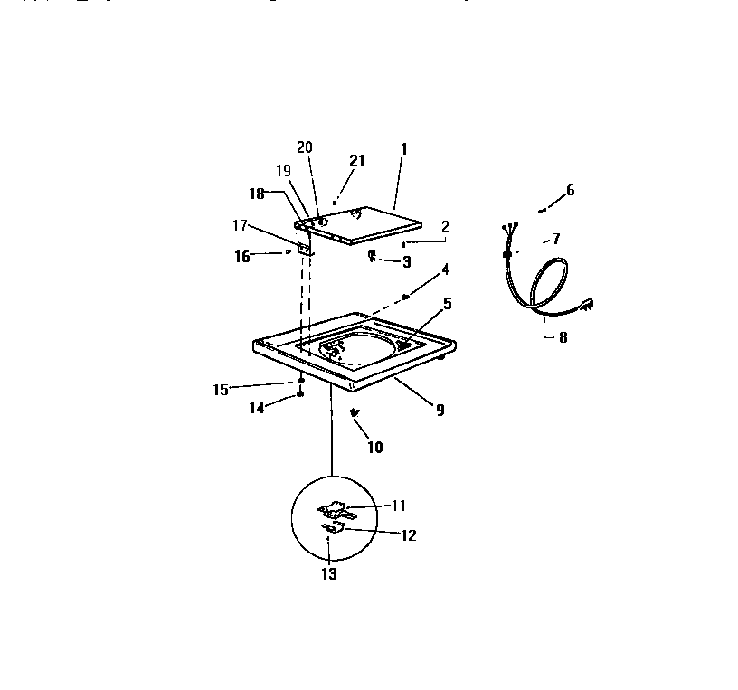
Tubs Diagram

Washer

Part #Q500377
This item is not returnable
In Stock
$2.16
Dryer Screw

#NI

All parts Diagram

Dryer screw

Part #134154100
In Stock
$14.91 | 
12% OFF 
Phone Price: $16.91
Wire Tie#1

Harness & miscellaneous Diagram

Clip

Part #502072
Replaced by #5303281103
?
Manufacturer substitution
This part replaces 502072. Substitute parts can look different from the original.
This item is not returnable
In Stock
$2.16
Washer

#NI

All parts Diagram

Base

Part #500411
Replaced by #3281107
?
Manufacturer substitution
This part replaces 500411. Substitute parts can look different from the original.
In Stock
$9.32
Spring#20

Transmission Diagram

Spring

Part #F077052000
Replaced by #5303161174
?
Manufacturer substitution
This part replaces F077052000. Substitute parts can look different from the original.
In Stock
$20.26
Washer Gear Case Housing Seal#4

Transmission Diagram

Gasket

Part #F130895000
Replaced by #5308015778
?
Manufacturer substitution
This part replaces F130895000. Substitute parts can look different from the original.
In Stock
$24.49
Screw#10

Cabinet, hoses Diagram

Screw

Part #604443
Replaced by #00604443
?
Manufacturer substitution
This part replaces 604443. Substitute parts can look different from the original.
This item is not returnable
In Stock
$4.74
Washer Water Inlet Valve (replaces 5303207418, Q171447)#15

Cabinet, hoses Diagram

Valve

Part #Q171447
Replaced by #134190200
?
Manufacturer substitution
This part replaces Q171447. Substitute parts can look different from the original.
In Stock
$35.79 | 
12% OFF 
Phone Price: $40.79
Laundry Center Washer Gear Case Oil Seal#12

Transmission Diagram

Seal

Part #F077062000
Replaced by #5303161173
?
Manufacturer substitution
This part replaces F077062000. Substitute parts can look different from the original.
In Stock
$40.06

Symptoms common to all washers

Choose a symptom to see related washer repairs.

Main causes: leaky water inlet valve, faulty water-level pressure switch, bad electronic control board
Main causes: lack of electrical power, wiring failure, bad power cord, electronic control board failure, bad user interface board
Main causes: water heater failure, bad water temperature switch, faulty control board, bad water valve, faulty water temperature sensor
Main causes: unbalanced load, loose spanner nut, worn drive block, broken shock absorber or suspension spring, debris in drain pump
Main causes: broken lid switch or lid lock, bad pressure switch, broken shifter assembly, faulty control system
Main causes: clogged drain hose, house drain clogged, bad drain pump, water-level pressure switch failure, bad control board or timer
Main causes: worn agitator dogs, bad clutch, broken motor coupler, shifter assembly failure, broken door lock, suspension component failure
Main causes: no water supply, bad water valves, water-level pressure switch failure, control system failure, bad door lock or lid switch
Main causes: bad lid switch or door lock, bad timer or electronic control board, wiring failure, bad water inlet valve assembly

Articles and videos common to all washers

Use the advice and tips in these articles and videos to get the most out of your washer.

January 3, 2022

Why is my washing machine leaking when not in use?

Lyle Weischwill

Learn how to fix a washing machine leak

December 30, 2021

How to fix a washing machine

Lyle Weischwill

Learn how to fix your broken washing machine

April 10, 2020

Cleaning your appliances after a drinking water advisory

Wayne Archer

Find out how to clean and flush household appliances once a boil water advisory is lifted.