Proctor Silex
Coffee Maker

Model #A635 Official Proctor Silex automatic drip coffee maker

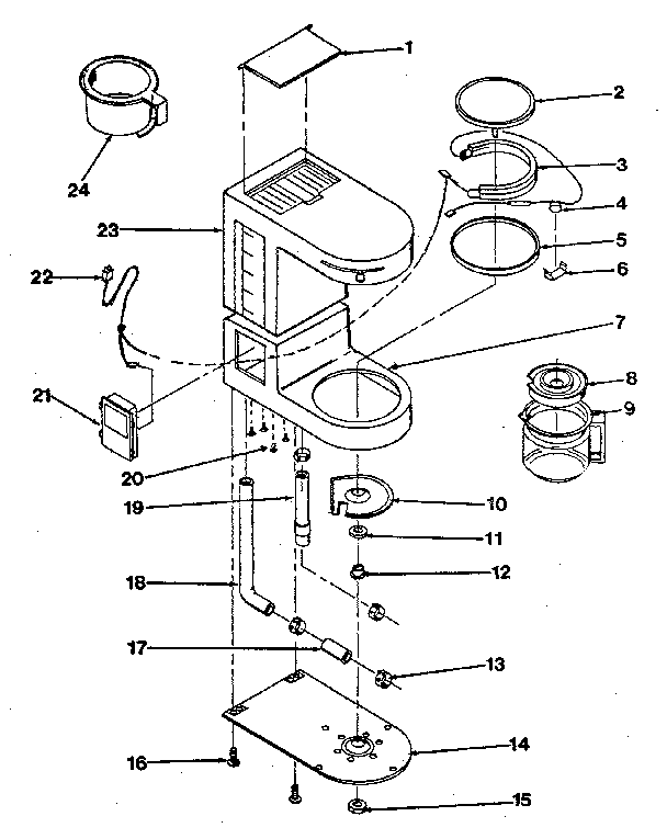
Here are the diagrams and repair parts for Proctor Silex A635 automatic drip coffee maker, as well as links to manuals and error code tables, if available.

There are a couple of ways to find the part or diagram you need:

  • Click a diagram to see the parts shown on that diagram.
  • In the search box below, enter all or part of the part number or the part’s name.

Not all parts are shown on the diagrams—those parts are labeled NI, for “not illustrated”.

We encourage you to save the model to your profile, so it’s easy to access parts and manuals for your appliance whenever you log in.

For DIY troubleshooting advice and repair guides, visit our repair help section.

Showing 10 of 25 parts

(L/P) SCREW, 6-18 X 3/8", PAN HD. PH. S.T., BODY TO PANEL (TOP REAR OF BODY-OUTER SCREW) (ONE PER PANEL)#2

Replacement parts Diagram

(l/p) screw, 6-18 x 3/8", pan hd. ph. s.t., body to panel (top rear of body-outer screw) (one per panel)

Part #N/P

The manufacturer no longer makes this part, and there's no substitute part

Clamp#13

Replacement parts Diagram

Clamp

Part #032026

The manufacturer no longer makes this part, and there's no substitute part

Screw#16

Replacement parts Diagram

Screw

Part #002957

The manufacturer no longer makes this part, and there's no substitute part

Eyelet#12

Replacement parts Diagram

Eyelet

Part #006055

The manufacturer no longer makes this part, and there's no substitute part

Digitl Timer#21

Replacement parts Diagram

Digitl timer

Part #600653

The manufacturer no longer makes this part, and there's no substitute part

Output Tube#18

Replacement parts Diagram

Output tube

Part #134980

The manufacturer no longer makes this part, and there's no substitute part

Wht Dost Lid#1

Replacement parts Diagram

Wht dost lid

Part #166844

The manufacturer no longer makes this part, and there's no substitute part

Blk Basket#24

Replacement parts Diagram

Blk basket

Part #606721

The manufacturer no longer makes this part, and there's no substitute part

Bottom Cover#14

Replacement parts Diagram

Bottom cover

Part #944696

The manufacturer no longer makes this part, and there's no substitute part

Deck#7

Replacement parts Diagram

Deck

Part #157526

The manufacturer no longer makes this part, and there's no substitute part