Kenmore
Electric Range

Model #9114252591 Official Kenmore electric cooktop

Here are the diagrams and repair parts for Kenmore 9114252591 electric cooktop, as well as links to manuals and error code tables, if available.

There are a couple of ways to find the part or diagram you need:

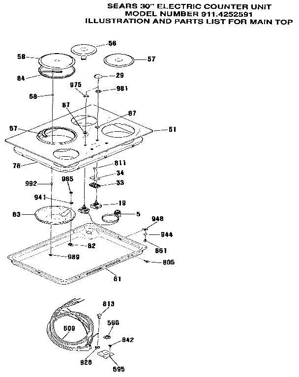
  • Click a diagram to see the parts shown on that diagram.
  • In the search box below, enter all or part of the part number or the part’s name.

Not all parts are shown on the diagrams—those parts are labeled NI, for “not illustrated”.

We encourage you to save the model to your profile, so it’s easy to access parts and manuals for your appliance whenever you log in.

For DIY troubleshooting advice and repair guides, visit our repair help section.

Error Codes

Showing 10 of 51 parts

Owner's Manual

#NI

All parts Diagram

Owner's manual

Part #SR10084
This item is not returnable
In Stock
$5.49
Parts List

#NI

All parts Diagram

Parts list

Part #SR13219
This item is not returnable
In Stock
$5.49
Condenser Plate#595

Main top Diagram

Condenser plate

Part #WB02X9867
Replaced by #WB2X9867
?
Manufacturer substitution
This part replaces WB02X9867. Substitute parts can look different from the original.
In Stock
$18.59 | 
10% OFF 
Phone Price: $20.59
Screw#842

Main top Diagram

Screw

Part #WB01X1297
Replaced by #WB1X1297
?
Manufacturer substitution
This part replaces WB01X1297. Substitute parts can look different from the original.
This item is not returnable
In Stock
$7.09 | 
12% OFF 
Phone Price: $8.09
Range Screw#813

Main top Diagram

Screw

Part #WB01X1261
Replaced by #WB1X1261
?
Manufacturer substitution
This part replaces WB01X1261. Substitute parts can look different from the original.
In Stock
$7.69 | 
12% OFF 
Phone Price: $8.69
Harness#600

Main top Diagram

Harness

Part #WB18X0366

The manufacturer no longer makes this part, and there's no substitute part

Screw#811

Main top Diagram

Screw

Part #WB01X1172

The manufacturer no longer makes this part, and there's no substitute part

Gasket 6"#84A

Main top Diagram

Gasket 6"

Part #WB02X9507

The manufacturer no longer makes this part, and there's no substitute part

Nut#985

Main top Diagram

Nut

Part #WB01X1304

The manufacturer no longer makes this part, and there's no substitute part

9" Hob Elem#58

Main top Diagram

9" hob elem

Part #WB30K5016

The manufacturer no longer makes this part, and there's no substitute part

Symptoms common to all ranges

Choose a symptom to see related range repairs.

Main causes: food splatters, spilling food on the oven door, allowing liquid to drip through oven door vent when cleaning the door
Main causes: power supply failure, blown thermal fuse, bad relay control board, damaged terminal block, wiring failure
Main causes: broken oven door lock assembly, wiring failure, electronic control board problem
Main causes: faulty temperature sensor, electronic control board problem, control thermostat failure, weak burner igniter, oven door problem
Main causes: broken broiler element, weak or broken broil burner igniter, control system failure, faulty temperature sensor, wiring failure
Main causes: power supply problem, control thermostat or electronic control board failure, broken element, bad burner igniter
Main causes: bad bake element, broken burner igniter, control system failure, blown thermal fuse, faulty temperature sensor, wiring failure

Repair guides common to all ranges

These step-by-step repair guides will help you safely fix what’s broken on your range.

July 20, 2018
By Lyle Weischwill
How to replace a range oven door switch

The oven door switch detects whether the oven door is closed and helps control the oven light. Replace the switch if it doesn’t control the oven light properly.

Repair difficulty
Time required
 30 minutes or less
February 20, 2015
By Lyle Weischwill
How to replace a range oven door lock assembly

Oven door not locking? You can replace the lock assembly in less than 30 minutes. Here's how.

Repair difficulty
Time required
 15 minutes or less

Articles and videos common to all ranges

Use the advice and tips in these articles and videos to get the most out of your range.

May 12, 2022

How to disassemble an Electrolux EW30 freestanding electric range

By Lyle Weischwill

See how to access control boards and oven components in an Electrolux electric range.

December 27, 2021

How does a self-cleaning oven work?

By Lyle Weischwill

Learn how the self-clean cycle works in an oven.

May 31, 2016

Oven door won't open: troubleshooting door lock problems on a range video

By Lyle Weischwill

Troubleshoot and repair problems with your range when your oven door locks shut and you can't get it open.