Whirlpool
Electric Range

Model #GJSP84901 Official Whirlpool electric freestanding range

Here are the diagrams and repair parts for Whirlpool GJSP84901 electric freestanding range, as well as links to manuals and error code tables, if available.

There are a couple of ways to find the part or diagram you need:

  • Click a diagram to see the parts shown on that diagram.
  • In the search box below, enter all or part of the part number or the part’s name.

Not all parts are shown on the diagrams—those parts are labeled NI, for “not illustrated”.

We encourage you to save the model to your profile, so it’s easy to access parts and manuals for your appliance whenever you log in.

For DIY troubleshooting advice and repair guides, visit our repair help section.

Showing 10 of 181 parts

Appliance Light Bulb, 40-watt (replaces 40A15-2PK, 60A, 60A15RVL, STD398091, WR02X12328, WX12X1510)#3

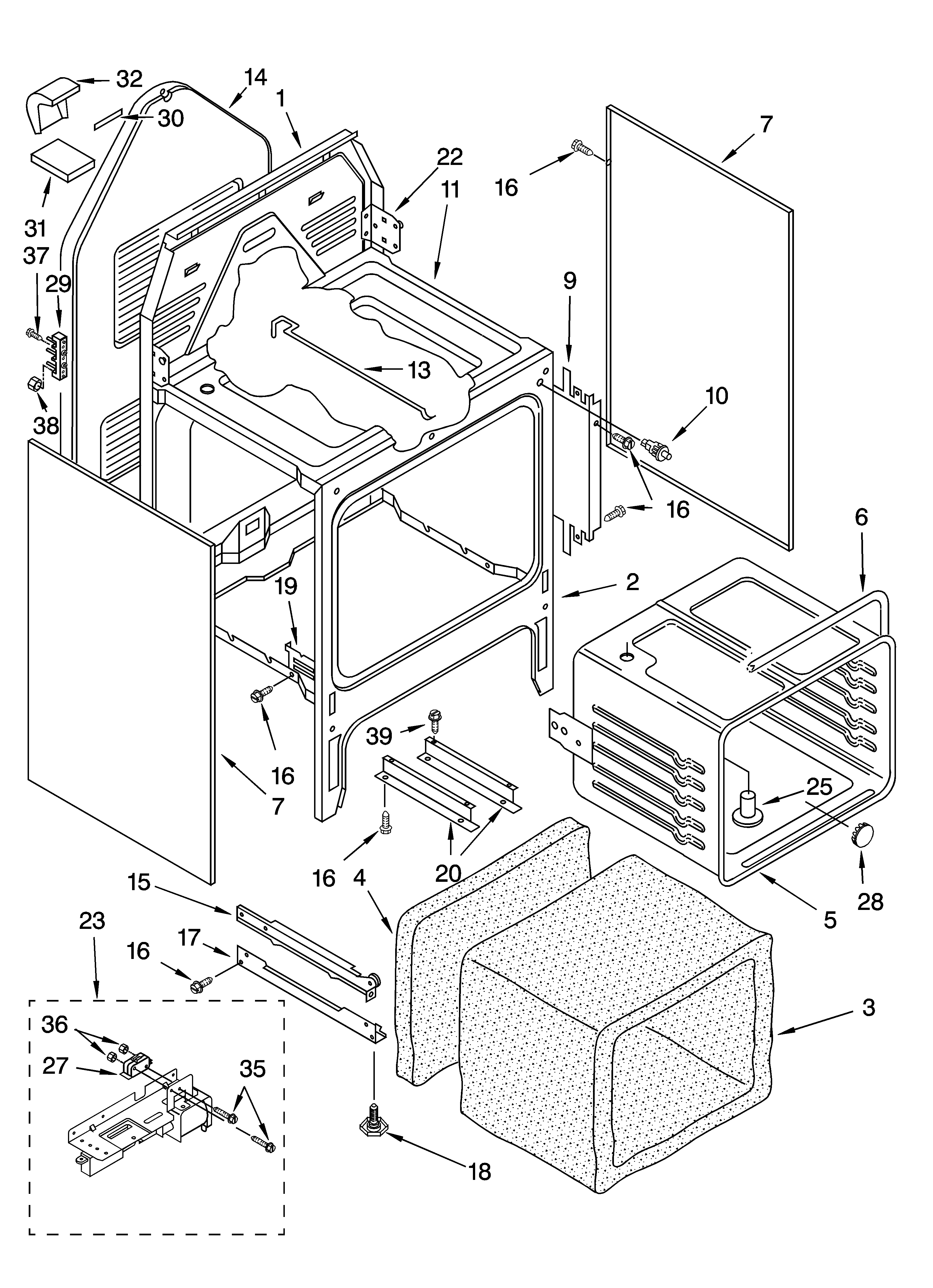
Oven parts Diagram

Oven light bulb

Part #8935
Replaced by #40A15
?
Manufacturer substitution
This part replaces 8935. Substitute parts can look different from the original.
BEST SELLER
In Stock
$7.52 | 
12% OFF 
Phone Price: $8.52
Appliance Spray Paint (White) (replaces 094566-64, 206923, 2780-0001, 4395978, 5303203125, 66208, 788343, 799343, 799433, 99343, A0050702, F94566-010, Y057937, Y350930)#NI

Hidden bake parts, miscellaneous parts Diagram

Spray w

Part #350930
Replaced by #350930
?
Manufacturer substitution
This part replaces 350930. Substitute parts can look different from the original.
BEST SELLER
This item is not returnable
In Stock
$15.69 | 
11% OFF 
Phone Price: $17.69
Affresh Cooktop Cleaner#NI

Hidden bake parts, miscellaneous parts Diagram

Cleaner

Part #9780196
Replaced by #W10355051
?
Manufacturer substitution
This part replaces 9780196. Substitute parts can look different from the original.
BEST SELLER
This item is not returnable

Get free shipping with Automatic Reorder

In Stock
$10.89 | 
16% OFF 
Phone Price: $12.89
Range Oven Insulation#NI

Hidden bake parts, miscellaneous parts Diagram

Insulation

Part #240132
Replaced by #WPW10208653
?
Manufacturer substitution
This part replaces 240132. Substitute parts can look different from the original.
BEST SELLER
In Stock
$39.47 | 
11% OFF 
Phone Price: $44.47
Range Oven Insulation#NI

Hidden bake parts, miscellaneous parts Diagram

Insulation

Part #261514
Replaced by #WPW10208653
?
Manufacturer substitution
This part replaces 261514. Substitute parts can look different from the original.
BEST SELLER
In Stock
$39.47 | 
11% OFF 
Phone Price: $44.47
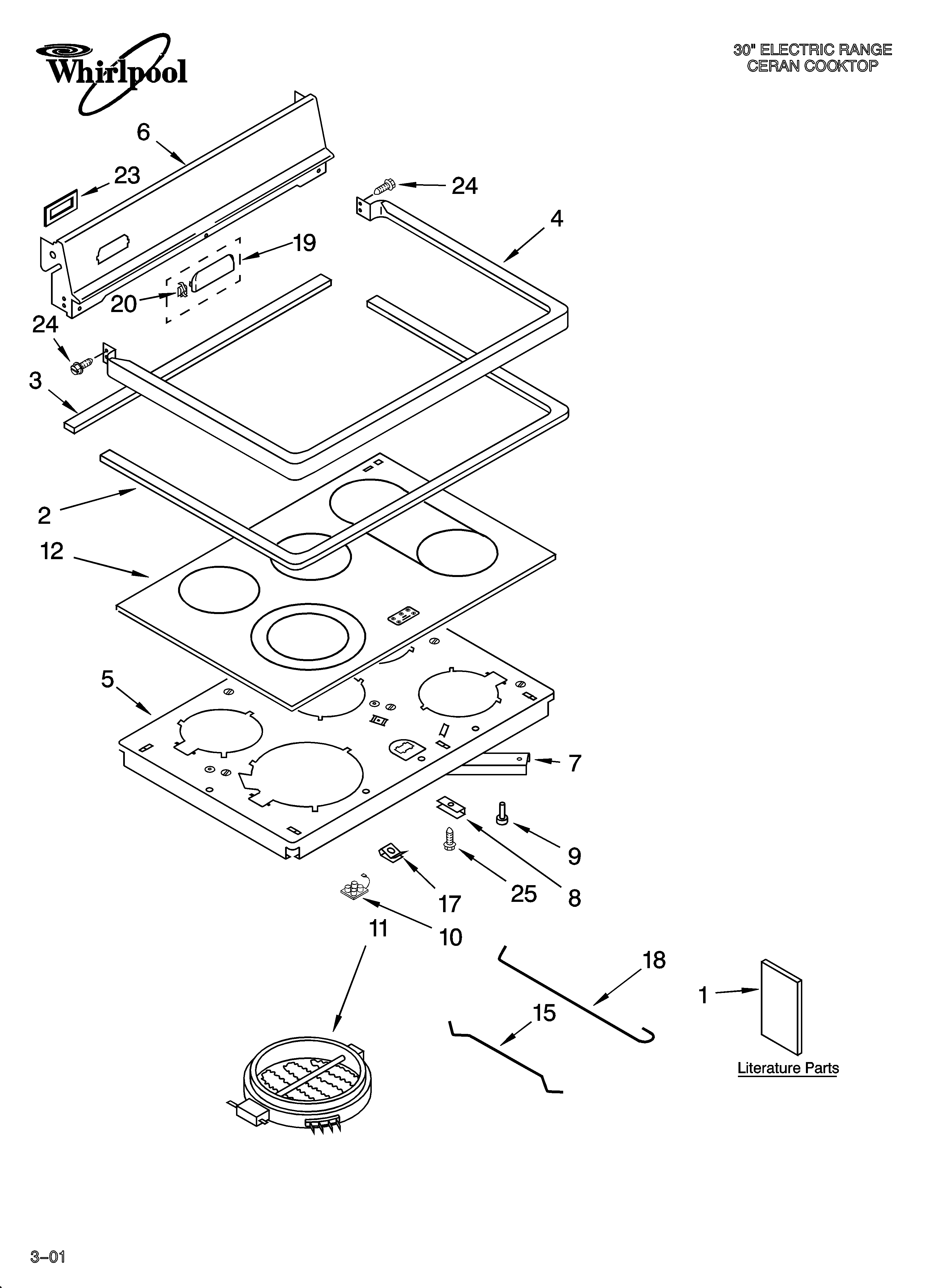
Range Radiant Surface Element, 7-in#11

Cooktop parts Diagram

Surface element

Part #8272564
Replaced by #W10823699
?
Manufacturer substitution
This part replaces 8272564. Substitute parts can look different from the original.
In Stock
$79.89 | 
19% OFF 
MSRP: $99.00
Appliance Screw, 10-16 x 1/2-in#NI

Hidden bake parts, miscellaneous parts Diagram

Screw

Part #690989
Replaced by #WP681414
?
Manufacturer substitution
This part replaces 690989. Substitute parts can look different from the original.
This item is not returnable
In Stock
$4.39 | 
19% OFF 
Phone Price: $5.39
Range Oven Door Inner Glass#15

Door and drawer parts Diagram

Range oven door inner glass

Part #9781593
Replaced by #WP9781593
?
Manufacturer substitution
This part replaces 9781593. Substitute parts can look different from the original.
In Stock
$72.62 | 
10% OFF 
Was: $80.69
Appliance Spray Paint (Black)#NI

Hidden bake parts, miscellaneous parts Diagram

Appliance spray paint (black)

Part #285006
This item is not returnable
In Stock
$28.89 | 
15% OFF 
Phone Price: $33.89
Range Leveling Leg#18

Oven chassis parts Diagram

Level foot

Part #312701
Replaced by #WPW10058460
?
Manufacturer substitution
This part replaces 312701. Substitute parts can look different from the original.
This item is not returnable
In Stock
$5.84 | 
15% OFF 
Phone Price: $6.84

Symptoms common to all ranges

Choose a symptom to see related range repairs.

Main causes: food splatters, spilling food on the oven door, allowing liquid to drip through oven door vent when cleaning the door
Main causes: power supply failure, blown thermal fuse, bad relay control board, damaged terminal block, wiring failure
Main causes: broken oven door lock assembly, wiring failure, electronic control board problem
Main causes: faulty temperature sensor, electronic control board problem, control thermostat failure, weak burner igniter, oven door problem
Main causes: broken broiler element, weak or broken broil burner igniter, control system failure, faulty temperature sensor, wiring failure
Main causes: power supply problem, control thermostat or electronic control board failure, broken element, bad burner igniter
Main causes: bad bake element, broken burner igniter, control system failure, blown thermal fuse, faulty temperature sensor, wiring failure

Repair guides common to all ranges

These step-by-step repair guides will help you safely fix what’s broken on your range.

July 20, 2018
Lyle Weischwill
How to replace a range oven door switch

The oven door switch detects whether the oven door is closed and helps control the oven light. Replace the switch if it doesn’t control the oven light properly.

Repair difficulty
Time required
 30 minutes or less
February 20, 2015
Lyle Weischwill
How to replace a range oven door lock assembly

Oven door not locking? You can replace the lock assembly in less than 30 minutes. Here's how.

Repair difficulty
Time required
 15 minutes or less

Articles and videos common to all ranges

Use the advice and tips in these articles and videos to get the most out of your range.

December 27, 2021

How does a self-cleaning oven work?

Lyle Weischwill

Learn how the self-clean cycle works in an oven.

May 23, 2018

F90 error code troubleshooting for ranges video

Wayne Archer

Troubleshoot the door lock system to find and fix the problem.

May 31, 2016

Oven door won't open: troubleshooting door lock problems on a range video

Lyle R. Weischwill

Troubleshoot and repair problems with your range when your oven door locks shut and you can't get it open.