Lincoln
Welder

Model #WPG8000 Official Lincoln weld on power

Here are the diagrams and repair parts for Lincoln WPG8000 weld on power, as well as links to manuals and error code tables, if available.

There are a couple of ways to find the part or diagram you need:

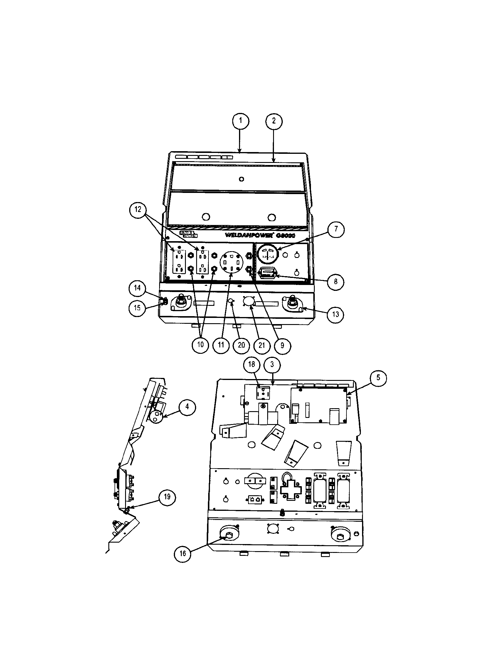
  • Click a diagram to see the parts shown on that diagram.
  • In the search box below, enter all or part of the part number or the part’s name.

Not all parts are shown on the diagrams—those parts are labeled NI, for “not illustrated”.

We encourage you to save the model to your profile, so it’s easy to access parts and manuals for your appliance whenever you log in.

For DIY troubleshooting advice and repair guides, visit our repair help section.

Showing 10 of 193 parts

CASE FRONT ASSEMBLY (B&S), INCLUDES: (BELOW CODE 9900)

#NI27

All parts Diagram

Case front assembly (b&s), includes: (below code 9900)

Part #G-2302-3

The manufacturer no longer makes this part, and there's no substitute part

CASE SIDE-RIGHT (CODE 9791 AND BELOW)(THIS PART IS OBSOLETE AND NO LONGER AVAILABLE.)#34

General assembly Diagram

Case side-right (code 9791 and below)(this part is obsolete and no longer available.)

Part #G2272

The manufacturer no longer makes this part, and there's no substitute part

PIPE NIPPLE (ONAN AND KOHLER)#15A

Engine and alternator Diagram

Pipe nipple (onan and kohler)

Part #T9959-18

The manufacturer no longer makes this part, and there's no substitute part

5/16 X .875 HEX HEAD CAP SCREW (2)#61B

General assembly Diagram

5/16 x .875 hex head cap screw (2)

Part #CF000168

The manufacturer no longer makes this part, and there's no substitute part

Caution Decal

#NI06

All parts Diagram

Caution decal

Part #S20145

The manufacturer no longer makes this part, and there's no substitute part

IDLER ASSEMBLY (B&S ENGINE)#12B

General assembly Diagram

Idler assembly (b&s engine)

Part #S20010-1

The manufacturer no longer makes this part, and there's no substitute part

THRU BOLT (4)#7

Engine and alternator Diagram

Thru bolt (4)

Part #T9781-127

The manufacturer no longer makes this part, and there's no substitute part

EXPANSION NUT, PLASTIC (2)#5A

Case front assembly Diagram

Expansion nut, plastic (2)

Part #S14020-3

The manufacturer no longer makes this part, and there's no substitute part

Spark Arrestor

#NI16

All parts Diagram

Spark arrestor

Part #K894-1

The manufacturer no longer makes this part, and there's no substitute part

5/16 HN#61E

General assembly Diagram

5/16 hn

Part #CF000029

The manufacturer no longer makes this part, and there's no substitute part