Speed Queen
Dryer

Model #SDGX09LF Official Speed Queen dryer

Here are the diagrams and repair parts for Speed Queen SDGX09LF dryer, as well as links to manuals and error code tables, if available.

There are a couple of ways to find the part or diagram you need:

  • Click a diagram to see the parts shown on that diagram.
  • In the search box below, enter all or part of the part number or the part’s name.

Not all parts are shown on the diagrams—those parts are labeled NI, for “not illustrated”.

We encourage you to save the model to your profile, so it’s easy to access parts and manuals for your appliance whenever you log in.

For DIY troubleshooting advice and repair guides, visit our repair help section.

    Showing 10 of 214 parts

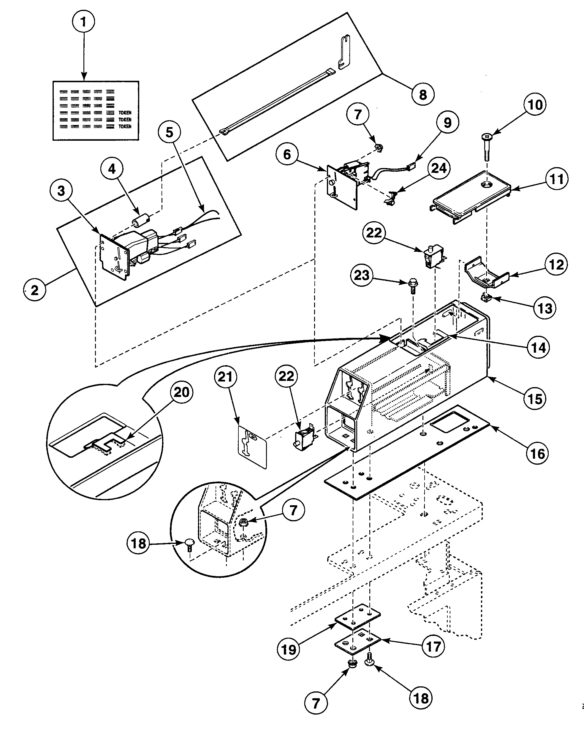
    Screw#3

    Controls assy Diagram

    Screw

    Part #503688

    The manufacturer no longer makes this part, and there's no substitute part

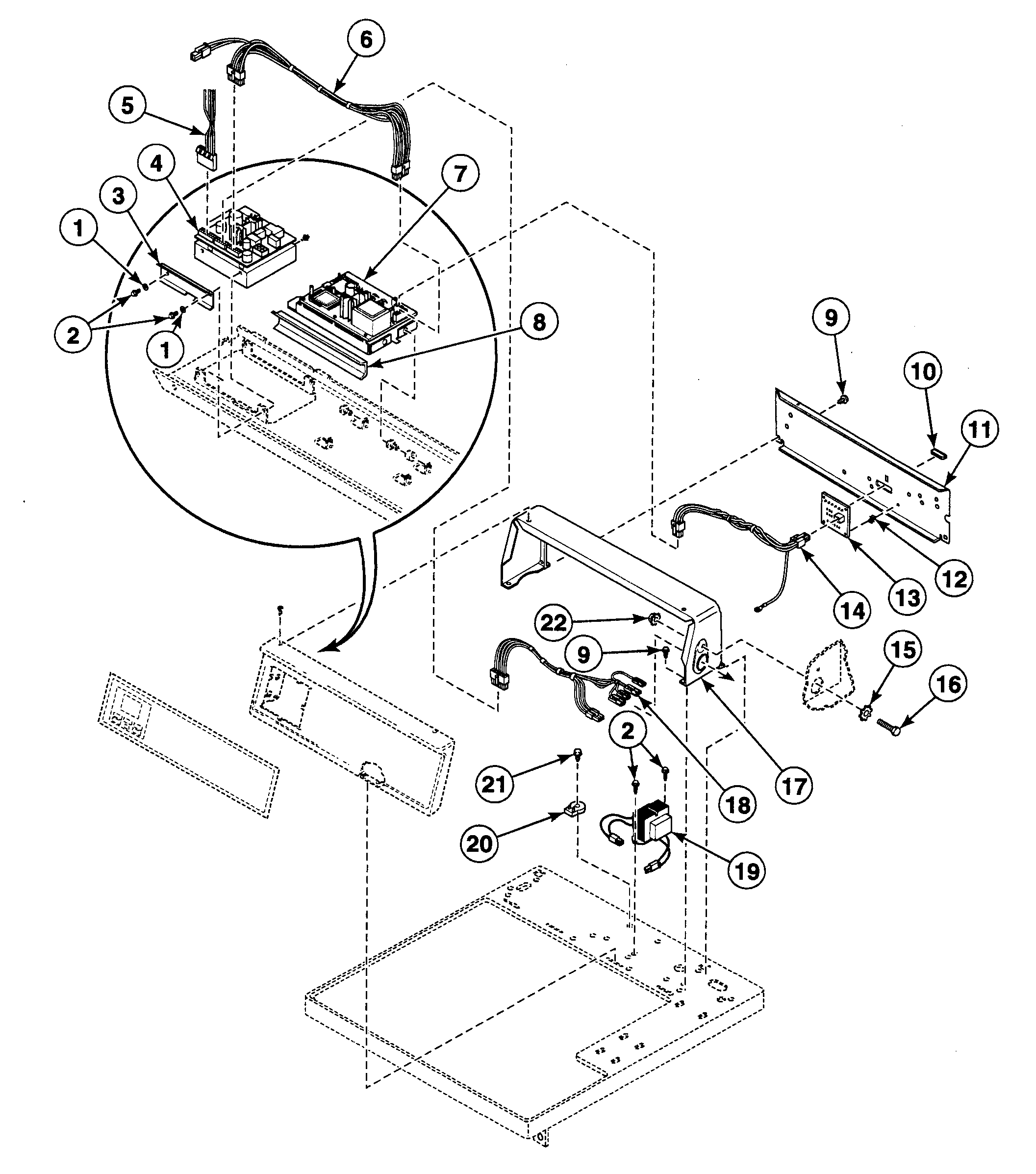
    Dryer Drive Motor#4

    Motor assy Diagram

    Dryer drive motor

    Part #511629P

    The manufacturer no longer makes this part, and there's no substitute part

    Ring

    See All Related Diagrams

    Ring

    Part #23748

    The manufacturer no longer makes this part, and there's no substitute part

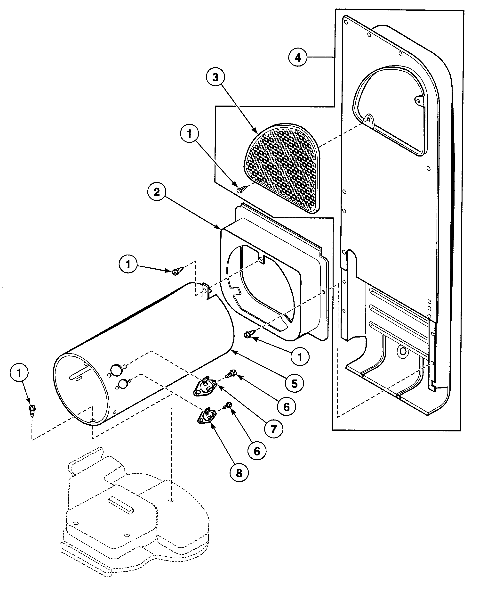
    Bumper Pad#3

    Cabinet Diagram

    Bumper pad

    Part #56128

    The manufacturer no longer makes this part, and there's no substitute part

    Terminal#3

    Tools Diagram

    Terminal

    Part #00188

    The manufacturer no longer makes this part, and there's no substitute part

    Burner Assembly#7

    Gas valve Diagram

    Burner assembly

    Part #510149P

    The manufacturer no longer makes this part, and there's no substitute part

    Hinge#5

    Cabinet Diagram

    Hinge

    Part #510136

    The manufacturer no longer makes this part, and there's no substitute part

    Nut#7

    Meter case Diagram

    Nut

    Part #29786

    The manufacturer no longer makes this part, and there's no substitute part

    Shroud#2

    Heater Diagram

    Shroud

    Part #510101

    The manufacturer no longer makes this part, and there's no substitute part

    Washer Seal#1

    Motor assy Diagram

    Washer seal

    Part #510238P

    The manufacturer no longer makes this part, and there's no substitute part

    Symptoms common to all dryers

    Choose a symptom to see related dryer repairs.

    Main causes: bad drum support roller, damaged idler pulley, broken blower fan blade, worn drum glide bearing, bad drive motor
    Main causes: bad gas valve coils, broken heating element, tripped safety thermostat or fuse, bad operating thermostat, control failure
    Main causes: bad timer or electronic control board, door switch failure
    Main causes: lack of electrical power, bad power cord, wiring failure, bad control board, blown thermal fuse, bad door switch
    Main causes: clogged exhaust vent, bad motor relay, loose dryer door catch, bad door switch, control system failure, faulty drive motor
    Main causes: damaged door strike, worn door catch
    Main causes: door switch failure, lack of power, broken belt, blown thermal fuse, bad drive motor, control system failure
    Main causes: clogged exhaust system, heating system failure, deposits on moisture sensor, control system failure

    Repair guides common to all dryers

    These step-by-step repair guides will help you safely fix what’s broken on your dryer.

    August 1, 2014
    By Lyle Weischwill
    How to replace a dryer drum support roller

    If your dryer thumps or squeals, replace the drum support roller to restore quiet to your home.

    Repair difficulty
    Time required
     90 minutes or less
    August 1, 2014
    By Lyle Weischwill
    How to replace a dryer thermistor

    The thermistor senses the air temperature in the dryer. If your dryer overheats or doesn't heat at all, the thermistor could be the problem.

    Repair difficulty
    Time required
     30 minutes or less
    August 1, 2014
    By Lyle Weischwill
    How to replace a dryer idler pulley

    The idler pulley exerts pressure keeps the drive belt tight so it can rotate the drum. A worn idler pulley squeals or squeaks when the dryer is running. Follow these instructions to replace it.

    Repair difficulty
    Time required
     90 minutes or less

    Articles and videos common to all dryers

    Use the advice and tips in these articles and videos to get the most out of your dryer.

    October 24, 2022

    Easy DIY appliance repairs that anyone can do

    By Lyle Weischwill

    Get advice on simple DIY fixes for appliances that you can safely do on your own.

    August 5, 2022

    Introducing new technical repair content that we’re developing for the Sears Technical Institute

    By Lyle Weischwill

    Learn about Sears Technical Institute and the advanced technical content being developed for aspiring appliance techs.

    January 4, 2022

    How to replace a Maytag dryer heating element

    By Lyle Weischwill

    Learn how to replace a Maytag dryer heating element