Craftsman
Tool Chest

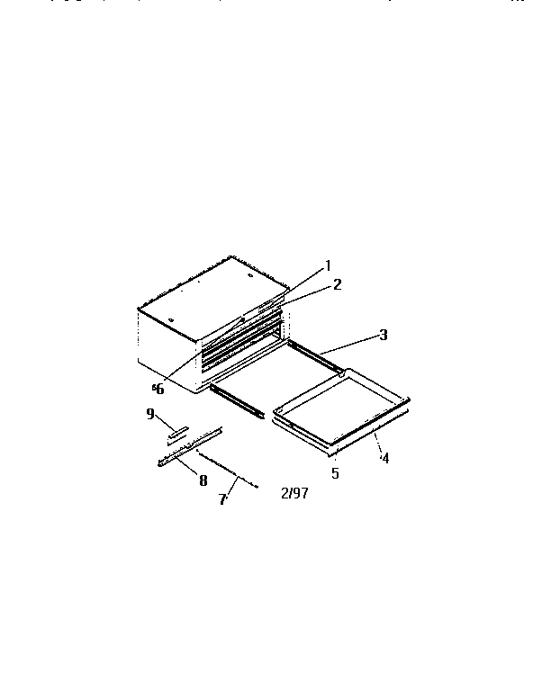
Model #706651660 Official Craftsman 16" 4-drawer deep intermediate tool chest

Here are the diagrams and repair parts for Craftsman 706651660 16" 4-drawer deep intermediate tool chest, as well as links to manuals and error code tables, if available.

There are a couple of ways to find the part or diagram you need:

  • Click a diagram to see the parts shown on that diagram.
  • In the search box below, enter all or part of the part number or the part’s name.

Not all parts are shown on the diagrams—those parts are labeled NI, for “not illustrated”.

We encourage you to save the model to your profile, so it’s easy to access parts and manuals for your appliance whenever you log in.

For DIY troubleshooting advice and repair guides, visit our repair help section.

Showing 10 of 12 parts

Emblem#1

Unit parts Diagram

Emblem

Part #T16456

The manufacturer no longer makes this part, and there's no substitute part

Tool Chest Clip

#NI

All parts Diagram

Tool chest clip

Part #M9371

The manufacturer no longer makes this part, and there's no substitute part

Tool Chest Drawer Slide#3

Unit parts Diagram

Tool chest drawer slide

Part #T14153A6

The manufacturer no longer makes this part, and there's no substitute part

Rod#7

Unit parts Diagram

Rod

Part #T16985A12

The manufacturer no longer makes this part, and there's no substitute part

Bracket#8

Unit parts Diagram

Bracket

Part #T16771

The manufacturer no longer makes this part, and there's no substitute part

Bracket#9

Unit parts Diagram

Bracket

Part #T16772

The manufacturer no longer makes this part, and there's no substitute part

Lock#6

Unit parts Diagram

Lock

Part #M10017A10-SS

The manufacturer no longer makes this part, and there's no substitute part

Tool Chest Installation Instructions

#NI

All parts Diagram

Tool chest installation instructions

Part #F888A6

The manufacturer no longer makes this part, and there's no substitute part

Drawer#2

Unit parts Diagram

Drawer

Part #A15150-EG

The manufacturer no longer makes this part, and there's no substitute part

Parts List

#NI

All parts Diagram

Parts list

Part #F105301

The manufacturer no longer makes this part, and there's no substitute part