Craftsman
Boating

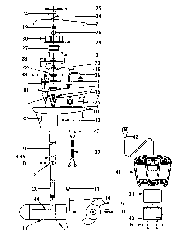
Model #217585380 Official Craftsman 12-v variable-speed fishing motor

Here are the diagrams and repair parts for Craftsman 217585380 12-v variable-speed fishing motor, as well as links to manuals and error code tables, if available.

There are a couple of ways to find the part or diagram you need:

  • Click a diagram to see the parts shown on that diagram.
  • In the search box below, enter all or part of the part number or the part’s name.

Not all parts are shown on the diagrams—those parts are labeled NI, for “not illustrated”.

We encourage you to save the model to your profile, so it’s easy to access parts and manuals for your appliance whenever you log in.

For DIY troubleshooting advice and repair guides, visit our repair help section.

Showing 10 of 94 parts

E-Ring#4

Dura amp module and armature Diagram

E-ring

Part #MR219-01

The manufacturer no longer makes this part, and there's no substitute part

Screw#15

Dura amp module and armature Diagram

Screw

Part #MR229-01

The manufacturer no longer makes this part, and there's no substitute part

O-Ring#39

Engine assembly Diagram

O-ring

Part #NP063-02

The manufacturer no longer makes this part, and there's no substitute part

Bearing#6

Dura amp module and armature Diagram

Bearing

Part #MR206-01

The manufacturer no longer makes this part, and there's no substitute part

Cover#21

Engine assembly Diagram

Cover

Part #LF053-10

The manufacturer no longer makes this part, and there's no substitute part

Foot Pedal#41

Engine assembly Diagram

Foot pedal

Part #NP300-04

The manufacturer no longer makes this part, and there's no substitute part

Screw

See All Related Diagrams

Screw

Part #EK136-01

The manufacturer no longer makes this part, and there's no substitute part

Sleeve#12

Engine assembly Diagram

Sleeve

Part #AT080-01

The manufacturer no longer makes this part, and there's no substitute part

Module#20

Dura amp module and armature Diagram

Module

Part #JF096-08

The manufacturer no longer makes this part, and there's no substitute part

Screw#3

Dura amp module and armature Diagram

Screw

Part #MR228-01

The manufacturer no longer makes this part, and there's no substitute part